477MCM DÖRT DEVRE (TA1, ZA1) DİREKLERİ APLİKASYON ÖLÇÜLERİ  
 
                         
 
          Hat Yönü                                              
                                                         
                        B                                
                                                       
                        b2                                
                C                                      
          b3                                            
Hatta Dik Yön                                                
                                                       
                b3                                      
                                                       
            C                                            
                                                       
                                                         
                                                         
                                                           
        b1                                        
   
 
                                                     
      A                                      
                                                           
                                                           
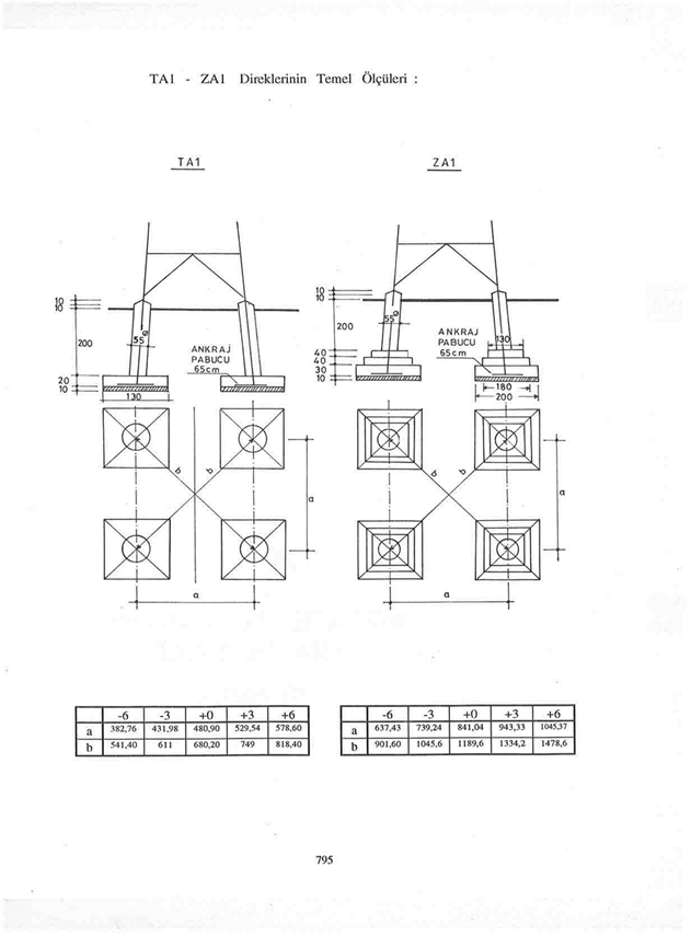
      TİP TA1                                      
      BOY a b1 b2 b3 A B C                                      
      -6 130 382,76 382,76 541 512,76 512,76 725                                      
      -3 130 431,98 431,98 611 561,98 561,98 795                                      
      +0 130 480,90 480,90 680 610,9 610,9 864                                      
      +3 130 529,54 529,54 749 659,54 659,54 933                                      
      +6 130 578,60 578,6 818 708,6 708,6 1.002                                      
                                                           
      TİP ZA1                                      
      BOY a b1 b2 b3 A B C                                      
      -6 200 637,43 637,43 901 837,43 837,43 1.184                                      
      -3 200 739,24 739,24 1045 939,24 939,24 1.328                                      
      +0 200 841,04 841,04 1189 1041,04 1041,04 1.472                                      
      +3 200 943,33 943,33 1334 1143,33 1143,33 1.617                                      
      +6 200 1045,37 1045,37 1478 1245,37 1245,37 1.761                                      
                                                           
                    https:/yildirimalkan.com                                
                    https://turkubey.com